Uw winkelwagen is momenteel leeg
Inboorpaumelle Zwart voor Stalen Stelkozijn 14 mm - Per Stuk
Waarom kiezen voor Inboorpaumelle Zwart voor Stalen Stelkozijn 14 mm - Per Stuk?
- Zeer eenvoudig te monteren
- Voor stalen stelkozijnen
- Roestvast
Productspecificaties:
| Merk | Wovar |
|---|---|
| Artikelnummer | WV005372 |
| EAN code | 8720574796858 |
| Kenmerk 1 | Voor opdek binnendeuren |
| Kenmerk 2 | Voor stalen stelkozijn |
| Afmeting | 14 mm |
| Materiaal | Staal |
| Afmetingen | 14 mm |
| Draairichting | Links en rechts |
Inboorpaumelle Zwart voor Stalen Stelkozijn 14 mm - Per Stuk
Gaat u een opdekdeur in een stalen stelkozijn plaatsen? Gebruik dan de zwarte inboorpaumelles voor stalen stelkozijnen van Wovar! Deze paumelles zijn speciaal ontwikkeld voor het ophangen van deuren in montagekozijnen die op stalen stelkozijnen zijn geplaatst.
Inboorpaumelle voor stalen stelkozijn 14 mm zwart
De pen van deze inboorpaumelle heeft een diameter van 14 mm en is afgewerkt met een zwarte laklaag. Verder heeft deze een gemiddeld draagvermogen van 20 kg per stuk. Met twee van deze paumelles hebt u dus ruim voldoende draagkracht om een gemiddelde standaard binnendeur van 30 kg op te hangen.
Deze inboorpaumelle wordt exclusief bevestigingsmateriaal geleverd. Wij raden daarom aan om gebruik te maken van onze inbusbouten met lage bolkop M6 x 20 mm. Voor het vastdraaien van deze inbusbouten hebt u dan ook een inbussleutel nodig. Hebt u deze nog niet? Dan kunt u deze vinden in onze categorie handgereedschap.
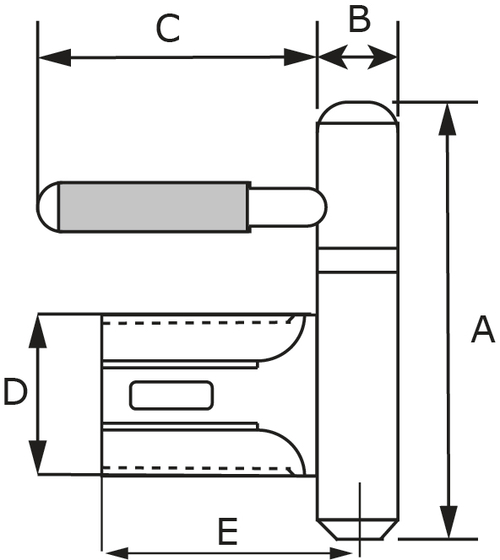
Voor de exacte afmetingen van de inboorpaumelle willen wij u graag verwijzen naar afbeelding 2 en de tabel hieronder. Zo kunt u van ieder element van de paumelle de afmetingen aflezen.
| Element inboorpaumelle | Afmeting weergegeven in mm |
| A | 78 mm |
| B | 14 mm |
| C | 50 mm |
| D | 32 mm |
| E | 45 mm |
Zwarte inboorpaumelle voor stalen stelkozijn bevestigen
Een inboorpaumelle voor een stalen stelkozijn is snel en gemakkelijk te bevestigen. Wanneer u deze inboorpaumelle nodig hebt, zal uw montagekozijn namelijk al een voorgeboorde gleuf hebben. U hoeft daarom alleen maar gaten te boren in uw opdekdeur. Hieronder hebben wij een kort stappenplan voor u gemaakt.
- Schuif de onderste helft van de paumelles in uw kozijn en schroef deze vast.
- Bepaal vervolgens de hoogte van de paumellegaten in uw deur en teken deze af.
- Gebruik nu een hardhoutboor van 5 mm om de gaten voor te boren, maximaal 30 mm diep.
- Draai tot slot de paumelles in de deur en hang hem op.
Inboorpaumelle 14 mm voor stalen stelkozijn bestellen
Bestel deze trendy zwarte inboorpaumelle voor stalen stelkozijnen voor een scherpe prijs bij Wovar!
Bent u een hovenier of hebt u een bouw- of klusbedrijf? Meld u zich dan aan voor een zakelijk account en krijg extra voordeel zoals een eigen contactpersoon en een vaste zakelijke korting!
Is deze inboorpaummele niet helemaal wat u zoekt? Bekijk dan eens onze andere paumelle scharnieren. Of neem een kijkje bij ons gehele assortiment scharnieren. Zo leveren wij onder andere ook kogelscharnieren, bommerscharnieren, louvredeurscharnieren, veiligheidsscharnieren en zwarte scharnieren.











