Uw winkelwagen is momenteel leeg
Inboorpaumelle Zwart voor Stalen Inmetselkozijn 14 mm - Per Stuk
Waarom kiezen voor Inboorpaumelle Zwart voor Stalen Inmetselkozijn 14 mm - Per Stuk?
- Zeer eenvoudig te monteren
- Voor stalen inmetselkozijnen
- Roestvast
Productspecificaties:
| Merk | Wovar |
|---|---|
| Artikelnummer | WV005371 |
| EAN code | 8720574796872 |
| Kenmerk 1 | Voor opdek binnendeuren |
| Kenmerk 2 | Voor stalen inmetselkozijn |
| Afmeting | 14 mm |
| Materiaal | Staal |
| Afmetingen | 14 mm |
| Draairichting | Links en rechts |
Inboorpaumelle Zwart voor Stalen Inmetselkozijn 14 mm - Per Stuk
Met de zwarte inboorpaumelle voor stalen inmetselkozijnen van Wovar hangt u uw opdekdeur met gemak op. Deze paumelle wordt ook wel een Polynorm paumelle genoemd en is speciaal ontwikkeld voor montagekozijnen die op een stalen inmetselkozijn zijn bevestigd.
Zwarte Polynorm paumelle 14 mm
Deze inboorpaumelle heeft een gemiddelde draagkracht van 20 kg per stuk en is afgewerkt met een stijlvolle zwarte laklaag. Met dit draagvermogen hebt u aan twee van deze paumelles ruim voldoende om een gemiddelde standaard opdekdeur van 30 kg op te hangen.
Bij deze inboorpaumelle is een M6 x 10 mm inbusbout met lage bolkop inbegrepen. Om deze inbouwbout aan te kunnen draaien hebt u een inbussleutel nodig. Mocht u die nog nodig hebben, kunt u deze eenvoudig bij ons mee bestellen. U vindt de inbussleutel in onze categorie handgereedschap.
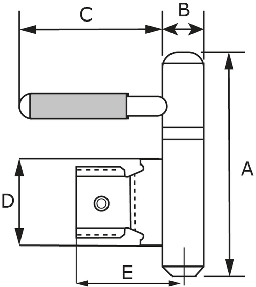
In de tabel hieronder ziet u de exacte afmetingen van de Polynorm paumelle. Gebruik hierbij afbeelding 2 om te zien welk element van de paumelle bij welke letter hoort.
| Element inboorpaumelle | Afmeting weergegeven in mm |
| A | 78 mm |
| B | 14 mm |
| C | 50 mm |
| D | 34 mm |
| E | 33 mm |
Bevestigen van de zwarte inboorpaumelle voor inmetselkozijn
Een inboorpaumelle voor een stalen inmetselkozijn is gemakkelijk te bevestigen. Het montagekozijn dat op het stalen stelkozijn is geplaatst zal al een voorgeboorde gleuf hebben voor uw inboorpaumelles. U hoeft daarom alleen maar gaten te boren in uw opdekdeur. Lees de montage-instructie hieronder voor een stapsgewijze uitleg.
- Schuif de onderste helft van de paumelles in uw kozijn en schroef deze vast.
- Bepaal vervolgens de hoogte van de paumellegaten in uw deur en teken deze af.
- Gebruik nu een hardhoutboor van 5 mm om de gaten voor te boren, maximaal 30 mm diep.
- Draai tot slot de paumelles in de deur en hang hem op.
Zwarte Polynorm paumelle 14 mm bestellen
Bestel deze stijlvolle zwarte Polynorm paumelle voor inmetselkozijnen vandaag nog bij Wovar!
Als hovenier en bouw- of klusbedrijf kunt u profiteren van extra voordelen met een zakelijk account! Meld u zich hiervoor aan en krijg onder andere direct een vaste zakelijke korting en een eigen contactpersoon.
Is deze inboorpaummele niet helemaal wat u zoekt? Bekijk dan eens onze andere paumelle scharnieren. Of neem een kijkje bij ons gehele assortiment scharnieren. Zo leveren wij onder andere ook kogelscharnieren, bommerscharnieren, louvredeurscharnieren, veiligheidsscharnieren en zwarte scharnieren.










